2026年3月8日 行业动态:
首页 > 行业信息 >> 专题论述
专题论述

聚碳酸酯板PC特性及应用

发布时间:2026/1/13 9:37:04 来源:幕匠周记

一、聚碳酸酯板材料性能

聚碳酸酯板,简称PC板,也有称PC阳光板、PC耐力板。主要是以聚碳酸酯聚合物为原料,经过挤压加工制造出来的。

聚碳酸酯板具有透光率高、耐抗击强度高、质量轻隔音好、耐候性强、阻燃性好、抗紫外线等优点。是一种高科技、综合性能极其卓越、节能环保型塑料板材。

相较于普通玻璃,聚碳酸酯板材透光率可以达到89%,撞击强度是普通玻璃的250-300倍。抗紫外线(UV)涂层和抗冷凝处理使其集抗紫外线、隔热防雾滴功能于一身,可阻挡紫外线穿过,保护贵重艺术品及展品,使其不受紫外线破坏。

比重仅为玻璃的一半,重量轻的特点可以节省运输、搬卸、安装以及支撑框架的成本。

聚碳酸酯板材达到国家标准难燃B1级,自身燃点高,离火后自熄,燃烧时不会产生有毒气体,不会助长火势的蔓延。

聚碳酸酯板与玻璃、亚克力、玻璃钢材料对比

二、聚碳酸酯板材料构造

聚碳酸酯板厚度一般有0.8cm、1.0cm、1.2cm、1.5cm、2.0cm、2.5cm、3.0cm—30cm。

常用的结构有米字中空板、双层、三层、四层方格中空板及蜂窝中空板。可根据使用部位及功能需求不同选择合适的中空结构板材。

颜色有透明、乳白、湖蓝、草绿、茶色、红色、黑色、黄色等,颜色规格可以依照使用要求定制。

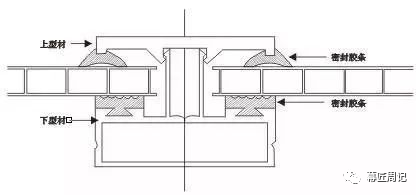
聚碳酸酯板安装图




免责声明:本图文、资料来源于网络,转载的目的在于传递更多信息及分享,并不代表本网站赞同其观点和对其真实性负责,也不构成其他建议。仅供交流,不为其版权负责。如涉及侵权,请及时与我们取得联系: zpia2008@163.com。